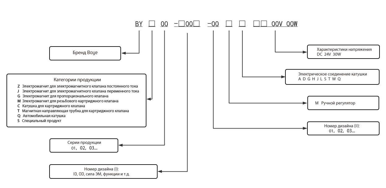
Руководство по выбору продукции

| Код | Форма питания | Схема |
| DC | Вход постоянного тока | ![]() |
| AC | Вход переменного тока / Внешняя схема полуволнового выпрямителя | ![]() |
| BC | Встроенная схема полуволнового выпрямителя | ![]() |
| RC | Встроенная схема полноволнового выпрямителя | ![]() |
| DC/S | Встроенная двунаправленная вторичная цепь | ![]() |
| Форма электрического подключения и уровень защиты | |||||||
| Код | Название | Уровень защиты | Схема | Код | Название | Уровень защиты | Схема |
| A | Тип соединительной коробки | IP65 | ![]() |
D | DP04-2P | IP67 | ![]() |
| G | Трехконтактный
DIN43650 ISO4400 |
IP65 | ![]() |
H | Тип кабеля | IP67 | ![]() |
| J | AMP | IP67 | ![]() |
L | Тип вывода | IP67 | ![]() |
| S | Двухконтактный
SAE J858a |
IP65 | ![]() |
K | Резьбовой тип Kostal |
IP67 | ![]() |
| Другие методы подключения доступны по запросу | |||||||
Меры предосторожности при использовании
- Катушку нельзя включать в сеть отдельно, это может привести к её сгоранию!
- Электромагниты на обоих концах соленоидного клапана не должны быть включены одновременно!
- Электромагнит нельзя использовать в условиях, превышающих номинальное рабочее давление!
- Перед использованием электромагнита убедитесь, что входное напряжение правильное и стабильное, чтобы избежать сгорания катушки или отказа в работе!
Меры безопасности
- Взрывозащищённую катушку нельзя использовать в среде с риском взрыва!
- После установки катушки она должна быть надёжно заземлена, в противном случае существует риск поражения электрическим током!
簡體中文
English
Русский











